剖析行业销售场景,助力企业实现数字化转型
一、 功能介绍
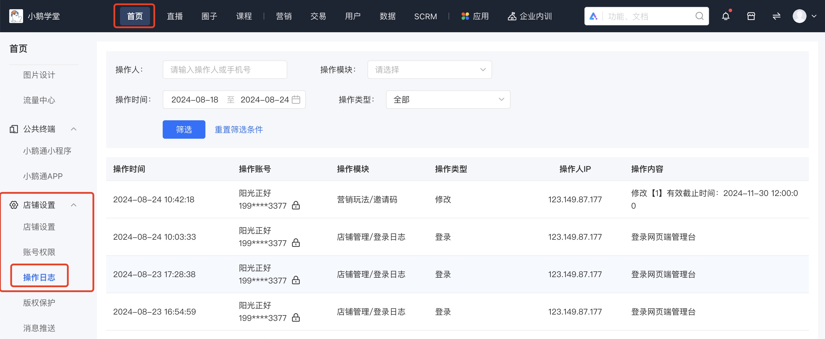
为了帮助商家对店铺人员进行更好的管理和责任认定,【操作日志】模块全新上线,商家可随时查询店铺人员在管理台执行过的敏感操作。
**注:小鹅通管理台目前仅针对部分重要和敏感的操作进行记录,不会提供所有功能操作的记录;如您有新的需求,可通过服务管家上报期望记录的敏感操作,我们会定期对该功能进行更新维护。
二、 操作路径
小鹅通管理台 - 首页 - 店铺设置 - 操作日志
三、 使用教程
1、默认给出当前店铺最近执行的操作记录;若记录过多,商家可以通过对操作人,操作模块,操作类型,操作时间的筛选,缩小查询范围,获取更精确的操作记录;
2、课程、实物商品删除后30天内,可以一键恢复;
3、【操作日志】权限默认分配高级管理员和普通管理员拥有,管理员自主可以配置权限给其他角色;


扫码添加微信,申请立即体验
“ 免费试用权+专属行业方案!”
联系电话:400-0371-003周一到周五:9:00-19:00
周六:9:00-17:30
关注小鹅通